Radar technology is rapidly becoming essential for modern touring motorcycles, with European and Japanese manufacturers vying for the most advanced features.
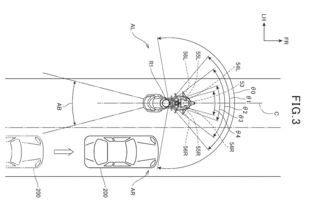
While BMW, Ducati, and KTM use Bosch radar systems, Honda lags behind, opting to develop its own radar technology for its flagship Gold Wing. Bosch’s advanced radar systems provide essential features like adaptive cruise control and blind-spot detection, and Honda’s unique approach aims to integrate radar, cameras, and lidar for a 360-degree view of the surroundings.
Honda’s Lidar Patent Could Change the Future of Motorcycling
This combination allows the bike to filter out false positives and create a reliable real-time image, overcoming the limitations of individual sensors.
Honda’s latest patents suggest its radar system will feature dynamic blind-spot monitoring, adjusting the warning lights based on the rider’s speed, with additional capabilities like adaptive cruise control, automatic emergency braking, and potentially semi-autonomous control in the future.

Though this technology is still in development, the Gold Wing touring motorcycle is expected to be the first to showcase these advancements. As rider-assist features gain traction in cars, we can expect a similar rapid adoption on motorcycles, transforming touring bikes into smarter, safer machines.
Source: CycleWorld
